Copyright (c)2004-2014  XX企业的网站
沪ICP备XXXXXXXX号 All Rights Reserved
简星云 
.
提供了灵活的权限配置和完善的企业管理能力,与同事、微信客户、上下游实时共享工作资料,安全又方便
企业微信  —  微盘
  • tab1
  • tab2
  • tb3


共享空间
01  共享空间,所有文件修改都可实时同步,每次打开都是最新版本
02  文件动态即时通知,空间成员可第一时间作出响应处理
03  可通过群聊、二维码、邀请链接等多种方式邀请同事、微信客户、上下游加入共享空间
02  为成员分配不同权限,还支持灵活配置成员允许的操作,保障企业文件安全
01  可绑定组织架构,新入职员工自动加入空间,团队共享更便捷
权限管控
  • tab1
  • tab2

01  可自定义微盘文件的内、外部访问权限,重要文件可要求权限申请,避免文件泄密
对外分享
  • tab1
  • tab2
  • tab3


02  通过微盘分享文件可实时接收下载通知,对下载、查看数据进行统计
03  对外分享可展示个人名片,通过文件分享拓展客户关系
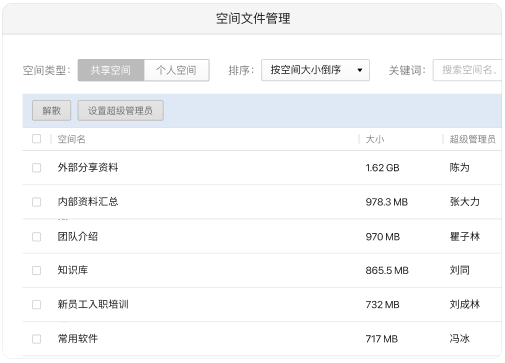
03  企业可统一查看和管理所有共享空间,实现对企业文件的全面把控
01  管理员可在员工离职后将其文件转交给指定员工,确保重要文件不丢失
03  管理员启用 IP 访问限制后,成员仅可在可信 IP 内访问微盘,保证微盘访问环境安全
企业管理
  • tab1
  • tab2
  • tab3
  • tab4


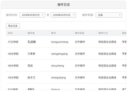
02  可审计员工操作日志,及时发现风险行为,实现溯源处理